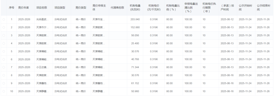
光伏头条获悉,11月24日,国网新能源云公示天津2026年统一竞价项目竞价出清结果。
根据公示:本次竞价机,制电量规模 939490.735 兆瓦时,机制电价水平 0.3196 元/千瓦时,项目 1279 个。
10月29日,天津市发展改革委发布关于2025年度增量新能源项目机制电量竞价工作有关事项的通知。根据文件本次竞价机制电量总规模为40亿千瓦时;若参与竞价的新能源项目申报总电量未达到50亿千瓦时,自动将机制电量总规模按照申报总电量除以125%进行调整。(详见:天津“136号文”竞价启动:风、光竞价上限0.32元/kWh,不设置下限,执行10年)
竞价上下限。竞价上限为0.32元/千瓦时,不设置竞价下限。执行期限。机制电价执行期限为10年。
部分项目如下:


(更多项目请前往国网新能源云平台查看)
来源:国网新能源云
切换行业






正在加载...



