光伏头条获悉,12月18日,国网新能源云公示湖北省2026年风、光项目机制电价竞价结果。
2026年按光伏竞价项目竞价出清结果:机制电量规模488361.054兆瓦时,机制电价水平0.333元/千瓦时,项目20520个
2026年按风电竞价项目竞价出清结果:机制电量规模1083952.908兆瓦时,机制电价水平0.387元/千瓦时,项目21个。
11月4日,湖北省发改委、省能源局发布关于开展2025年度新能源项目可持续发展价格结算机制竞价工作的通知。
根据文件,竞价主体为可参与本次竞价的新能源项目包括:实际(或计划)全容量投产时间在2025年6月1日—2026年12月31日的各类风电、集中式光伏;2025年6月1日至本次竞价公告发布前1日期间全容量投产的、独立参与竞价的分布式光伏;代理符合上述全容量投产期间规定的分布式光伏参与竞价的聚合商。
分为风电、光伏两个项目组,分别组织竞价、出清。
(一)竞价上下限。风电竞价上限为0.39元/千瓦时,竞价下限为0.26元/千瓦时;光伏竞价上限为0.38元/千瓦时,竞价下限为0.25元/千瓦时。相关价格均为含增值税价格。单个项目只能申报一个电量规模、一个电价标准,超出上下限范围报价以及拆分电量报价无效。
(二)竞价电量总规模。风电、光伏竞价电量规模比例系数(K1、K2)均为30%,对应竞价电量总规模在竞价名单确定后一并公布。
(三)单个项目申报规模。单个项目申报电量规模上限=单个项目预计上网电量×申报比例系数。其中预计上网电量按照申报容量(交流侧、下同)与省内该类型项目近三年(2022-2024年)平均发电利用小时数的乘积,扣除上年省内该类型项目平均厂用电率确定;申报比例系数(M1、M2)按照竞价规模比例系数的1.67倍考虑,风电、光伏均为50%。
(四)执行期限。本次竞价入选项目的机制电价执行期限为12年。
截至目前,已有24省市公布机制电价竞价结果,详情如下:

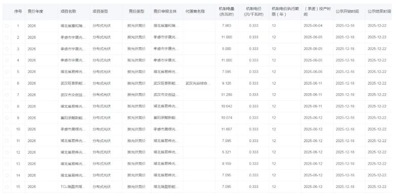
部分项目如下:

(更多项目请前往新能源云查看)
来源:新能源云
切换行业






正在加载...



